

一、路面狀況傳感器產品介紹
路面狀況傳感器又稱路面狀況檢測器,路面結冰監測傳感器,路面狀況傳感器采用多光譜測量技術,能準確檢測出道路表面結冰、積雪和積水的厚度,通過識別路面狀態,給人們提供預警信號,防止因路面結冰影響行車安全。
路面狀況傳感器又稱路面狀況檢測器,路面傳感器,路面狀況傳感器是一款非接觸式路面狀態檢測器,采用遙感技術,避免了對道路的破壞,采用多光譜測量技術使得能準確檢測道出道路表面結冰、積雪和積水的厚度。
路面狀況傳感器又稱路面狀況檢測器,路面狀況傳感器采用遙感技術,多光譜測量技術使得能準確檢測道出道路表面結冰、積雪和積水的存在狀態和厚度,同時還能實時監測影響交通安全的大霧、雨和雪等天氣現象。
WX-LM1系列非接觸式路面狀態檢測器,它采用遙感技術,避免了對道路的破壞,從而不會因為安裝道路氣象站引起的對交通的干擾。多光譜測量技術使得能準確檢測道出道路表面結冰、積雪和積水的存在狀態和厚度,同時還能實時監測影響交通安全的大霧、雨和雪等天氣現象。
二、路面狀況傳感器功能
l檢測路面積水、積雪、結冰狀態
l遠距離遙感檢測路面、橋面狀況
l非埋入式安裝快捷簡便
l車流量和事故多發區域
l雨雪多發區域
l維護成本低
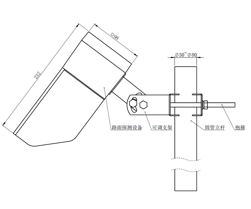
三、路面狀況傳感器產品尺寸圖

四、主要指標
型號 | WX-LM3(停售) | WX-LM1 |
檢測距離及檢測區域直徑 | 2-8米;23cm | |
對水平線的安裝角 | 30-80 | |
電源及功耗 | DC12-24V;0.6W | |
工作溫度和濕 | 溫度:-40oC 至 +60oC;濕度:0 至 95% | |
積水厚 | - | 0-10mm |
覆冰厚 | - | 0-2mm |
積雪厚 | - | 0-2mm |
濕滑程 | - | 0.01(濕滑)-0.82(摩擦強) |
路面狀態報告 | 干燥、潮、 濕、 雪、 冰、 冰水混合 | |
公路天氣現象(選配) | 路面溫度:oC 至 +60oC | |
天氣現象:雨;雪;大霧 | ||
路面材料 | 混凝土、瀝青路面 | |
通訊 | RS485、RS232 | |
?WX-SW3水文流量站通過現代傳感技術感知水流的每一次脈動,成為守護高原江河安全的重要基礎設施,它采用多參···
?隨著夏季腳步的臨近,雨水增多,汛期也要隨之到來,這對于水利工程、灌溉工程等都是一個極大的考驗,需要提···
?WX-SW2水文監測系統是可以實時監測渠道內水位、降雨量的監測設備,在之前的監測方法中面對突如其來的洪水、···
?WX-Q3農業四情監測系統是一款針對農田中“土壤、蟲情、氣象、苗情、孢子”這幾大關鍵要素進行實時監測與預警···
?WX-YJ2壓電式雨量觀測站的獨特之處在于它對每一滴雨的"傾聽"能力。當雨滴落在特制的壓電感應面上,其沖擊力···
?WX-NQ14農田小氣候觀測系統通過布設在農田內部的各類傳感器,實現對溫度、濕度、風速、風向、降雨量等氣象要···
?海量、連續的監測數據,是水質管理的重要依據。WX-SFB高配款浮標式水質自動監測系統具備強大的數據采集能力···
?WX-LS300-A便攜式流速儀作為一種小型便攜的流速測量儀器對于水資源管理具有非常重要的意義,它可以測量水流···
?WX-YW10超聲波液位計是利用超聲波進行液位測量的儀器。其工作原理是通過發射超聲波并接收其反射回波,根據聲···
?WX-NJD50高速公路能見度監測站是一款專為高速公路氣象監測而設計的高科技產品。它不僅能夠實時監測道路能見···
魯公網安備37079402370807 備案號:魯ICP備2022000322號-4 百度地圖txt地圖